Product Summary
The NTC5D-9 is a NSP power type NTC thermistor. It is Suitable for the use in switching power supply, UPS power supply, electric heaters, electronic energy-saving lighting, electronic ballast and electronic devices for power supply circuit protection. The NTC5D-9 features small size, high power, strong resistance to surge current, quick response, high B value, low residue resistance, long service life, high reliability, high security and wide applications.
Parametrics
NTC5D-9 general specifications: (1)R25±20%:5Ω; (2)max. current:3A; (3)approx. resistance in max. current at 25℃:0.21Ω; (4)dissipation power:11mW/℃; (5)time constant:34s; (6)operating temperature:-55 to +200℃.
Features
NTC5D-9 features: (1)Small size, high power and strong resistance to surge current; (2)Quick response; (3)High in B value and low in residual resistance; (4)Long service life and high reliability; (5)High security and wide applications.
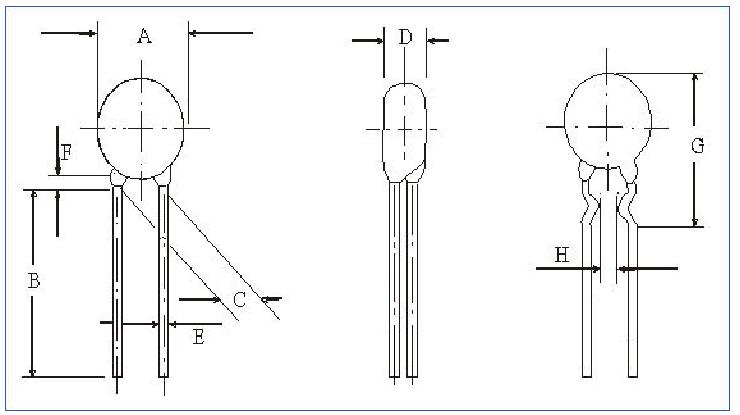
Diagrams

(China (Mainland))






