Product Summary
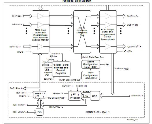
Built on three generations of industry-leading crosspoint switches, the M21131-12 is designed for today’s demanding telecom and datacom applications. The M21131-12 is a low-power CMOS, high-speed 72x72 crosspoint switch with robust signal conditioning circuits for driving and receiving high-speed signals through backplanes. The applications of the M21131-12 are Large N x N cascaded switch fabrics, over 8 Terabits/second DWDM Switches, Fiber-optic Telecom Systems (OC-48/OC-48 FEC), Telecom & Datacom Switches, Storage Area Network (SAN) Switches (Fiber Channel, 2x Fiber Channel, and 10x Fibre Channel), 10 GbE parallel, GbE, and Infiniband networks, Packet Switching, High speed Automated Test Equipment, Serial Digital Video Switching.
Parametrics
M21131-12 absolute maximum ratings: (1)Digital program core logic:0 to 3.6V; (2)Switch I/O:0 to 2.7V; (3)Switch core:0 to 1.5V; (4)Storage temperature:-65℃ to +150℃; (5)Human body model (low-speed):1000V; (6)Human body model (high-speed):500V; (7)Charge device model:150V.
Features
M21131-12 features: (1)Low power consumption of 6 Watts; (2)Programmable input equalizer to reduce deterministic jitter(ISI), caused by board traces and cables; (3)Input Signal activity monitoring; (4)Programmable output pre-emphasis for driving long board traces and cables; (5)Supports any data rate from DC to 3.2 Gbps; (6)Built-in system test features such as JitterMeter TM and PRBS Tx/Rx; (7)PowerScalerTM for further power reduction based on system needs.
Diagrams

![]() |
![]() M211 |
![]() Other |
![]() |
![]() Data Sheet |
![]() Negotiable |
|
||||||||||||
![]() |
![]() M2110 |
![]() Other |
![]() |
![]() Data Sheet |
![]() Negotiable |
|
||||||||||||
![]() |
![]() M2110-2545-AL |
![]() RAF Electronic Hardware |
![]() Circuit Board Hardware - PCB M2.5X0.45 M/F 15mm AL Stdoff |
![]() Data Sheet |
![]()
|
|
||||||||||||
![]() |
![]() M2110-2545-N |
![]() RAF Electronic Hardware |
![]() Circuit Board Hardware - PCB M2.5X0.45 M/F 15mm NYL Stdoff |
![]() Data Sheet |
![]()
|
|
||||||||||||
![]() |
![]() M2110-2545-SS |
![]() RAF Electronic Hardware |
![]() Circuit Board Hardware - PCB M2.5X0.45 M/F 15mm SS Stdoff |
![]() Data Sheet |
![]()
|
|
||||||||||||
![]() |
![]() M2110-3005-AL |
![]() RAF Electronic Hardware |
![]() Circuit Board Hardware - PCB M3X0.5 M/F 15mm AL Stdoff |
![]() Data Sheet |
![]()
|
|
||||||||||||
(China (Mainland))









